Гвоздь HN 101, 52MM
Гвоздь HN 101, 52MM
Артикул:0864101052
Цены доступны для авторизованных пользователей
Только для коммерческих организаций
Зарегистрируйтесь сейчас, чтобы получить доступ к более 4 000 видов продукции
В связи с изменением типа торговли в компании, с 10.06.2024г. в фирменной торговой сети WURTH прекращается продажа товаров в розницу.
В фирменных магазинах WURTH c 10.06.2024 будет производится обслуживание только юридических лиц по безналичному расчету.
- Описание
- Технические характеристики
- Документация
-
ОписаниеВысококачественный гвоздь для стальных и бетонных поверхностей в соответствии с DIN EN 206-1 и DIN 1045.
Примечание
- Гвозди с длиной стержня 72, 90 и 100 мм необходимо предварительно забить молотком.
- При выборе крепежных изделий учитывайте соответствующую категорию устройств.
Глубина установки (мин. 25 мм / макс. 40 мм) + толщина закрепляемого компонента = длина гвоздя или стержня
Расчет длины гвоздей для стальных поверхностей (толщиной мин. 5 мм):
Глубина установки (мин. 8 мм / макс. 12 мм) + толщина закрепляемого компонента = длина гвоздя или стержня -
Технические характеристики

Материал
Сталь
Поверхность
Механическая оцинковка
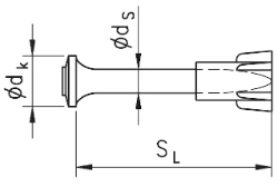
Длина хвостовика (SL)
52 мм
Диаметр хвостовика (Øds)
3,7 мм
Диаметр головки (Ø dk)
8 мм
Категория устройства
Würth BST 1, BST 2 / Berner BSG 2, 200, 201
Spit P 60, P 200
Würth BST MA-75 (комплект для одноимпульсной затяжки отдельных креплений), Hilti DX 350, DX 36M, DX 460- Гвозди с длиной стержня 72, 90 и 100 мм должны быть предварительно «наживлены» с помощью молотка.
- Пожалуйста, соблюдайте соответствующую категорию устройства при выборе крепежа.
-
Гвоздь HN 101 Размер: 94,1 кб
























